背景技术
1,2-环氧环戊烷(1,2-Epoxycyclopentane)又称氧化环戊烯,是一种无色油状液体,沸点102℃,是一种重要的医药、有机合成中间体,可由环戊烯环氧化合成。目前环戊烯氧化制备1,2-环氧环戊烷的方法主要有氧气氧化法、双氧水氧化法或以有机过氧化物、过氧酸、高碘酸钠等为氧化剂氧化路线。以氧气为氧化剂的工艺一般需要加入异丁醛等助氧化剂才能获得满意的收率,且反应体系复杂,反应不易控制。以有机过氧化物为氧化剂的环氧化反应选择性高,但原子经济性较差,成本较高。这种方法环戊烯转化率太低,并且双氧水与环戊烯反应不充分,不适合工业生产。

由此可见,现有技术中,环戊烯氧化制备1,2-环氧环戊烷的工艺中具有反应不易控制,且1,2-环氧环戊烷的收率低的问题。
制备工艺[1]
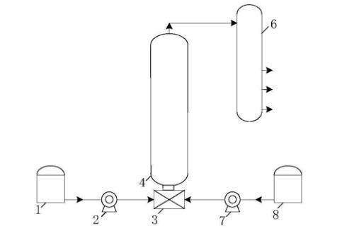
首先,通过进料单元将过氧化氢质量分数为20%的双氧水和一定量的环戊烯输送至微界面发生器3内(所述双氧水和所述环戊烯按照质量比为0.5配置),使双氧水液体破碎成微米级液滴,并使微米级液滴与环戊烯混合形成微界面流体,从而增大双氧水与环戊烯之间的传质面积;
其次,将所述微界面发生器3中形成的微界面流体输送至反应容器4内,所述微界面流体中的双氧水与环戊烯充分接触,将所述反应容器4内的反应温度调节至50*C,使所述双氧水与所述环戊烯在钛硅分子筛的催化作用下能够充分反应,反应时间为3h,并生成所需的1,2-环氧环戊烷,以达到强化双氧水氧化环戊烯制备1,2-环氧环戊烷的目的;
最后,将所述反应容器4内的混合物通入分离罐6内,所述分离罐6对所述反应产物以及所述副产物进行分离,所得1,2-环氧环戊烷的收率为63.56%。

参考文献
[1]南京延长反应技术研究院有限公司. 一种制备1,2-环氧环戊烷的强化系统及工艺:CN201910600373.5[P]. 2021-01-05.