顺式-已二烯二酸又称顺式-2,4-己二烯二酸或顺,顺-粘康酸,是一种重要的有机化合物。浅棕色粉末,它是肺炎克雷伯菌的代谢中间体,可转化为己二酸和对苯二甲酸,这两种物质是合成聚合物的重要单体。顺式-已二烯二酸作为己二酸前体,可用于合成尼龙-6,6等塑料和聚合物。

制备方法[1]
1、酶的制备
产邻苯二酚1,2-双加氧酶的菌株为假单胞菌(Pseadmonas sp.)一般在5℃以下保存。使用时首先在牛肉汁洋菜斜面上活化,在30℃温箱中,培养24小时,然后将斜面菌种接在种子瓶中,在30℃摇床上培养24小时,得到种子液。在摇瓶中加30%体积的培养基,再加种子液,在30°C摇床上培养72小时,即得到邻苯二酚1,2-双加氧酶的酶液。发酵液培养基的百分比组成为:苯甲酸钠0.15、琥珀酸钠0.27、KH2PO40.2、Na2HPO40.2、(NH4)SO40.1、微量Mg2+、Ca2+、Fe2+和Mn2+。
2、固定化酶的制备
将以上邻苯二酚1,2-双加氧酶的酶液调至微酸性,将已活化的固定化载体按4-6%(W/V)加入,在室温下搅拌1-2小时,酶即挂到载体上制成了固定化酶。这一步的酶活收率为85-90%。
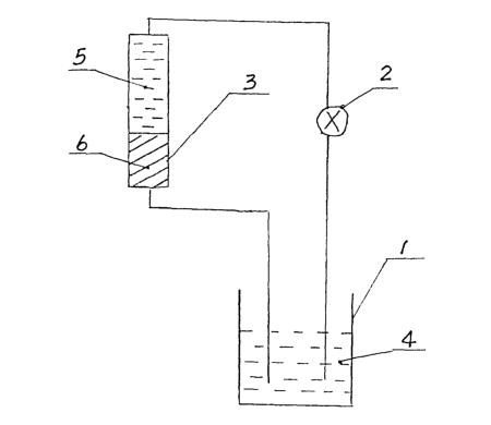
3、顺式-已二烯二酸的酶法合成
将上述固定化酶装在柱子中,通过循环泵将柱与底物溶液槽相连,如图1所示。底物溶液中包含邻苯二酚和缓冲液,PH为中性。通过循环泵使底物溶液通过固定化酶柱,在酶的催化下,邻苯二酚转化为顺式-已二烯二酸,多循环几次,该反应就进行完全了。将此产物溶液经浓缩和干燥后,可得粉末状顺式-已二烯二酸样品。也可将其溶于乙醇,形成顺式-已二烯二酸结晶。上述固定化酶反应是批式的,一批原料反应完了,还可进行下批反应,可多次反复反应。该固定化酶可使用3-5天。

参考文献
[1]中国科学院微生物研究所. 酶法合成顺,顺-己二烯二酸新工艺:CN93108610.8[P]. 1994-05-18.